
Apple ar putea dezvolta o husă specială pentru iPhone care îmbunătățește conexiunea prin satelit, potrivit GSMArena, care citează o cerere de brevet depusă încă din 2024 și făcută publică recent. Documentul descrie un accesoriu cu antene suplimentare, conceput pentru a crește performanța comunicațiilor prin satelit pe iPhone și, posibil, pe iPad.

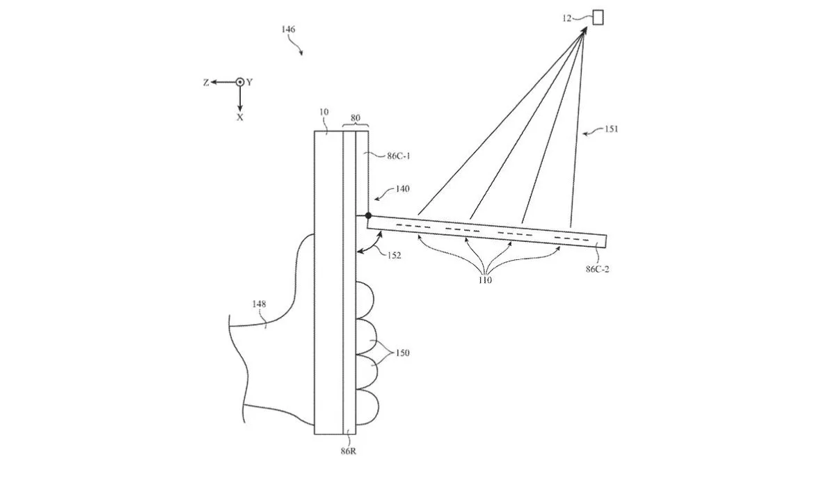
Brevetul, intitulat „Dispozitiv electronic și husă cu capabilități de comunicare prin satelit”, prezintă o husă dotată cu un ansamblu intern de antene fazate. Un element rabatabil ar permite orientarea antenei către cer, pentru a obține un semnal mai bun. În același timp, soluția ar reduce riscul ca utilizatorul să blocheze semnalul cu mâna, deoarece zona cu antene ar fi separată de partea principală a telefonului.
Potrivit descrierii tehnice, husa ar putea comunica cu un grup de sateliți și ar funcționa ca un accesoriu obișnuit, ușor de montat și demontat. Transferul de date ar putea fi realizat printr-un conector radio de frecvență sau prin tehnologii precum NFC.
Conceptul vine în contextul în care Apple a introdus deja funcții de comunicare prin satelit pe unele modele recente de iPhone, destinate situațiilor de urgență în zone fără acoperire celulară. O astfel de husă ar putea extinde capacitățile existente sau ar putea îmbunătăți stabilitatea conexiunii.
Totuși, depunerea unui brevet nu garantează lansarea produsului. Marile companii înregistrează frecvent concepte care nu ajung niciodată pe piață, multe rămânând la stadiul de proiect tehnic. În acest moment, nu există informații oficiale privind intenția Apple de a comercializa o astfel de husă.






